政府信息公开
(市住房和城乡建设局)
建设项目开工“一件事”办事指南
日期:2025-11-07 11:40 作者:进驻政务服务中心窗口-闵照中 来源:市住房和城乡建设局 浏览:1719次 字体:【

一、基本信息、

(一)事项名称:建设项目开工“一件事”

(二)服务对象:法人、自然人和其他组织

(三)涉及事项:

(1)建筑工程施工许可证(建设工程质量监督手续办理、保证安全施工具体措施的资料查验、人民防空工程质量监督手续)

(2)建设工程消防设计审查

(3)城市建筑垃圾处置核准

(4)城镇污水排入排水管网许可(临时)

(5)市政基础设施建设类审批

(四)牵头单位:临沧市住房和城乡建设局

(五)配合单位:临沧市发改委(市国防动员办)

(六)审批服务层级:市、县(区)级

(七)办理形式:网上办理、窗口办理

(八)是否收费:否

(九)法定办结时限:110个工作日

(十)承诺审批(办结)时限:9个工作日(补正材料、现场踏勘、专家评审不计入办理用时。申请人未一次性申请办理全部事项,仅以该次承诺审批时限最长的事项计时。)

(十一)中介服务事项名称:无

(十二)是否需要勘验、组织听证、专家评审、检测:是

(十三)审批机关是否委托服务机构开展技术性服务:否

(十四)是否实行告知承诺办理:是

(十五)是否实行容缺办理:否

(十六)办理时间:

工作日,上午08:30-12:00,下午14:30-18:00

(十七)办理地址:

1.线上平台办理:云南政务服务网

https://zwfw.yn.gov.cn/portal/#/home?flag=false

2.线下窗口办理:临沧市临翔区凤翔街道沧江北路3号临沧市(区)政务服务中心2号大厅一楼A01号、A02号、A03号、A04号窗口(临沧市住房和城乡建设局窗口)

二、办理条件

(一)建筑工程施工许可证(合并办理建设工程质量监督手续、保证安全施工具体措施的资料查验、人民防空工程质量监督手续)

1.依法应当办理用地批准手续的,已经办理该建筑工程用地批准手续;

2.依法应当办理建设工程规划许可证的,已经取得建设工程规划许可证;

3.施工场地已经基本具备施工条件,需要征收房屋的,其进度符合施工要求;

4.已经确定施工企业。按照规定应当招标的工程没有招标,应当公开招标的工程没有公开招标,或者肢解发包工程,以及将工程发包给不具备相应资质条件的企业的,所确定的施工企业无效;

5.有满足施工需要的技术资料,施工图设计文件已按规定审查合格;

6.有保证工程质量和安全的具体措施。施工企业编制的施工组织设计中有根据建筑工程特点制定的相应质量、安全技术措施。建立工程质量安全责任制并落实到人。专业性较强的工程项目编制了专项质量、安全施工组织设计,并按照规定办理了工程质量、安全监督手续;

7.建设资金已经落实。建设单位应当提供建设资金已经落实承诺书。

(二)建设工程消防设计审查

1.按规定编制完成消防设计文件,并取得施工图审查合格书;

2.依法需要办理建设工程规划许可的,应取得建设工程规划许可文件;

3.依法需要批准的临时性建筑,应取得批准文件。

(三)城市建筑垃圾处置核准

1.有符合国家和本州(市)、县(市、区)建筑垃圾处理场建设标准和要求;

2.建筑垃圾处理场所应配备防止污水、废气、废渣、粉尘等二次污染的设施;

3.有建筑垃圾处理场所土地使用证明材料;

4.有相应的环境卫生和安全管理制度。

(四)城镇污水排入排水管网许可(临时)

1.污水排放口的设置符合城镇排水与污水处理规划的要求;

2.排放污水的水质符合国家或者本州(市)、县(市、区)规定的有关排放标准;

3.按照国家有关规定建设相应的预处理设施;

4.按照国家有关规定在排放口设置便于采样和水量计量的专用检测井和计量设备;

5.列入重点排污单位名录的排水户已安装主要水污染物排放自动监测设备。

(五)市政基础设施建设类审批

1.符合城市建设发展规划;

2.征得道路主管部门同意;

3.涉及影响交通安全的应征得公安交通管理部门同意;

4.新建、扩建、改建的城市道路交付使用后5年内、大修的城市道路竣工后3年内不得挖掘;因特殊情况需要挖掘的,须经城市人民政府批准;

5.按标准交纳城市道路占用费或者城市道路挖掘修复费;

6.有完善的施工组织方案。

三、申请材料

(一)建筑工程施工许可证(合并办理建设工程质量监督手续、保证安全施工具体措施的资料查验、人民防空工程质量监督手续)

1.用地批准手续(依法应当办理用地批准手续的)

2.建设工程规划许可证(依法应当办理建设工程规划许可证的)

3.施工场地已经基本具备施工条件的说明(承诺办)

4.依法确定建筑施工企业的材料(应招标项目提交中标通知书和施工合同协议书,非招标项目提交施工合同协议书)

5.建设资金已经落实承诺书(承诺办)

6.施工图设计文件审查合格书(含消防、人防设计技术审查意见)—实行施工图联合审查的,同步出具施工图设计文件审查合格书和消防、人防设计技术审查意见

7.保证工程质量和安全的具体措施的资料(施工企业编制的施工组织设计中有根据建筑工程特点编制的相应质量、安全技术措施。专业性较强的工程项目编制了专项质量、安全施工组织设计。)

8.建设、勘察、设计、施工、监理五方责任主体签署《法定 代表人授权书》及《工程质量终身责任承诺书》

9.人民防空主管部门批准的有关文件(涉及防空地下室建设或易地建设的)

(二)建设工程消防设计审查

1.消防设计文件(特殊建设工程具有下列情形之一的,还应当同时提交特殊消防设计技术资料:(1)国家工程建设消防技术标准没有规定的;(2)消防设计文件拟采用的新技术、新工艺、新材料不符 合国家工程建设消防技术标准规定的;(3)因保护利用历史建筑、历史文化街区需要,确实无法 满足国家工程建设消防技术标准要求的)

2.建设工程规划许可证(依法应当办理建设工程规划许可证的)

3.临时性建筑批准文件(依法需要批准的临时性建筑)

(三)城市建筑垃圾处置核准

1.建筑垃圾产生种类、数量及周期

2.与建筑垃圾运输单位、处理单位签订的合同

3.建筑垃圾运输的时间、路线和处理地点名称

(四)城镇污水排入排水管网许可(临时)

1.建设项目的施工排水方案及图纸

2.排水户水质合格书面承诺书

3.排水隐蔽工程竣工报告或排水户承诺排水隐蔽工程质量合格承诺书

(五)市政基础设施建设类审批

1.公安交通管理部门的批准文件(涉及影响交通安全的)

2.城市规划部门批准签发的文件或有关设计文件(需挖掘城市道路的)

3.城市人民政府批准同意挖掘的证明材料(新建、扩建、改建的城市道路交付使用后5年内、大修的城市道路竣工后3年内的需提供)

4.施工组织设计方案

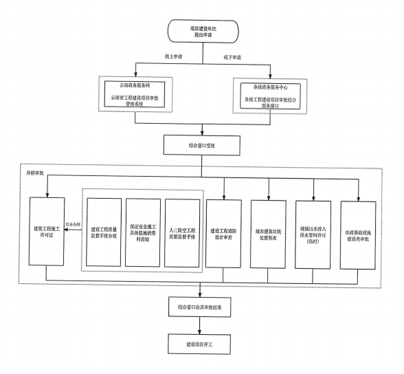
四、办理流程图

 

扫一扫在手机打开当前页面
分享: