中央人民政府
云南省人民政府
临沧市人民政府
本站支持IPv6/IPv4
无障碍浏览
长者模式
临沧市人民政府
返回首页
政府信息公开
(市农业农村局)
政府信息公开指南
政府信息公开制度
文件及解读
法定主动公开内容
机构职能
统计信息
财政信息
部门预决算
发展计划报告
民生信息
乡村振兴信息
乡村振兴工作信息
乡村振兴资金项目信息
第三次全国土壤普查
权责清单
其他法定信息
人大建议政协提案
人大建议办理结果
政协提案办理结果
政府信息公开年报
2025年
2024年
2023年
2022年
2021年
2020年
政府信息公开基本目录
工作动态
通知通告
党建
政务服务
依申请公开
首页
>
通知通告
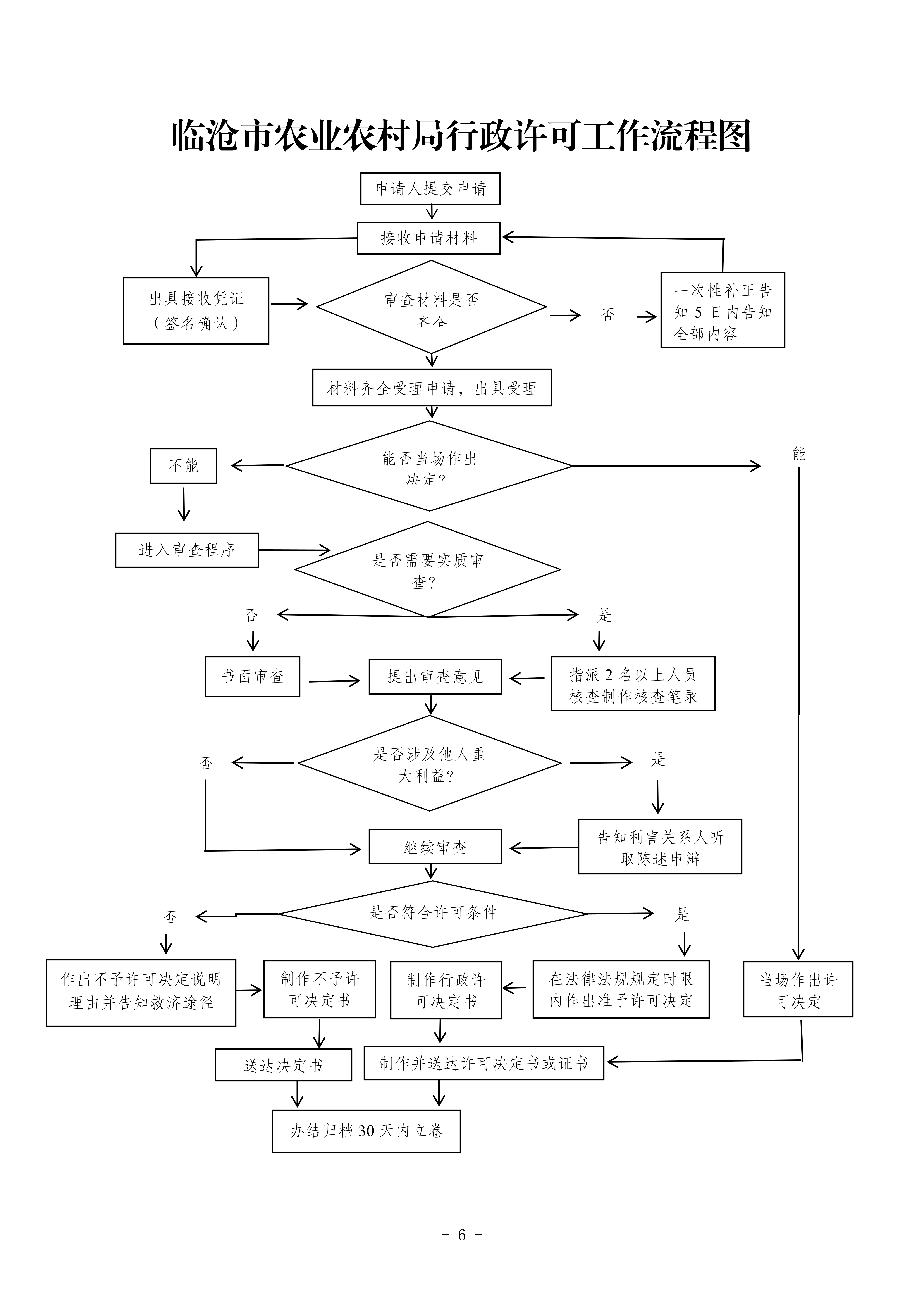
执法流程图
日期:2026-04-15 10:04
来源:市农业农村局
浏览:164次
字体:【
大
中
小
】
扫一扫在手机打开当前页面
分享:
打印
关闭
上一篇:
临沧市农业农村局兽药经营企业GSP公告
下一篇:
临沧市农业农村局2026年第6批兽药经营企业GSP现场验收情况公示